75325991

Information

  • Trademark
  • 75325991
  • Serial Number
    75325991
  • Registration Number
    2267855
  • Filing Date
    July 17, 1997
    28 years ago
  • Registration Date
    August 03, 1999
    26 years ago
  • Transaction Date
    July 22, 2011
    14 years ago
  • Status Date
    May 06, 2006
    19 years ago
  • Location Date
    August 24, 2006
    19 years ago
  • First Use Anywhere Date
    January 01, 1979
    47 years ago
  • First Use In Commerce Date
    January 01, 1979
    47 years ago
  • Status Code
    710
  • Current Location
    SCANNING ON DEMAND
    Employee Name
    RUPP, TERESA M
  • Attorney Name
    Heidi L. Sachs
    Law Office Assigned Location Code
    M10
  • Owners
Mark Drawing Code
2T19
Case File Statements
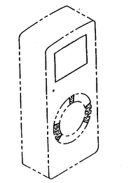
  • D10000: the representation of the shape of the dial, the shape of the electronic meter or the rectangular display screen
  • DM0000: The mark consists of the combination of three shaded regions on a rounded dial and a generally rectangular display screen on an electronic meter. The matter shown in broken lines shows positioning of the mark and that matter is not claimed as a part of the mark.
  • GS0091: multimeters, multitesters, digital meters, volt meters, amp meters, DMMs, namely, electronic test measurement devices and instruments and hand-held electronic devices used for measuring DC voltage, AC voltage, DC current, AC current, resistance, capacitance, frequency, continuity, and/or temperature, and/or for use in logic testing, transistor testing and/or diode testing
  • LS0000: The stippling in the drawing is for shading purposes only and does not indicate color.
Case File Event Statements
  • 9/6/2006 - 19 years ago
    14 - ATTORNEY REVOKED AND/OR APPOINTED Type: ARAA
  • 9/6/2006 - 19 years ago
    13 - TEAS REVOKE/APPOINT ATTORNEY RECEIVED Type: REAP
  • 8/24/2006 - 19 years ago
    12 - CASE FILE IN TICRS Type: CFIT
  • 5/6/2006 - 19 years ago
    11 - CANCELLED SEC. 8 (6-YR) Type: C8..
  • 8/3/1999 - 26 years ago
    10 - REGISTERED-SUPPLEMENTAL REGISTER Type: R.SR
  • 5/20/1999 - 26 years ago
    9 - APPROVED FOR REGISTRATION SUPPLEMENTAL REGISTER Type: CNTA
  • 4/23/1999 - 27 years ago
    8 - CORRESPONDENCE RECEIVED IN LAW OFFICE Type: CRFA
  • 2/18/1999 - 27 years ago
    7 - NON-FINAL ACTION MAILED Type: CNRT
  • 10/1/1998 - 27 years ago
    6 - CORRESPONDENCE RECEIVED IN LAW OFFICE Type: CRFA
  • 4/1/1998 - 28 years ago
    5 - NON-FINAL ACTION MAILED Type: CNRT
  • 3/18/1998 - 28 years ago
    4 - ASSIGNED TO EXAMINER Type: DOCK
  • 3/18/1998 - 28 years ago
    3 - ASSIGNED TO EXAMINER Type: DOCK
  • 3/9/1998 - 28 years ago
    2 - ASSIGNED TO EXAMINER Type: DOCK
  • 3/4/1998 - 28 years ago
    1 - ASSIGNED TO EXAMINER Type: DOCK