98429414

Information

  • Trademark
  • 98429414
  • Serial Number
    98429414
  • Filing Date
    March 01, 2024
    a year ago
  • Transaction Date
    May 13, 2025
    7 months ago
  • Status Date
    May 12, 2025
    7 months ago
  • Location Date
    May 12, 2025
    7 months ago
  • First Use Anywhere Date
    December 31, 2008
    17 years ago
  • First Use In Commerce Date
    December 31, 2008
    17 years ago
  • Status Code
    645
  • Current Location
    TMO LAW OFFICE 124
    Employee Name
    HESIK, APRIL
  • Attorney Docket Number
    RAP04 T-402
    Attorney Name
    Karl T. Ondersma
    Law Office Assigned Location Code
    N60
  • Owners
Mark Drawing Code
2
Case File Statements
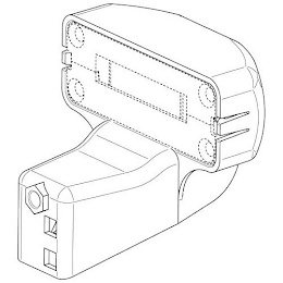
  • DM0000: The mark consists of a three-dimensional configuration of the housing of the goods; the housing has a forward extending lower portion having a generally rectangular cross section with notched sections on either side; the rear of the lower portion extends upward to an upper portion having a rectangular front opening that is parallel to the front face of the lower portion; a long axis of the rectangular front opening extends perpendicularly to a longitudinal axis of the lower portion. The dashed lines depicting the rectangular front opening and an internal component within the housing, two square openings, and a circular opening surrounded by a hexagonal protuberance indicate placement of the mark on the goods and are not part of the mark.
  • GS0091: electronic sensors for detecting items conveyed on a conveyor system; reflectors for detecting items conveyed on a conveyor system
  • CC0000: Color is not claimed as a feature of the mark.
Case File Event Statements
  • 3/1/2024 - a year ago
    1 - NEW APPLICATION ENTERED Type: NWAP
  • 7/13/2024 - a year ago
    3 - NOTICE OF DESIGN SEARCH CODE E-MAILED Type: MDSC
  • 7/13/2024 - a year ago
    2 - NEW APPLICATION OFFICE SUPPLIED DATA ENTERED Type: NWOS
  • 10/2/2024 - a year ago
    7 - NOTIFICATION OF NON-FINAL ACTION E-MAILED Type: GNRN
  • 9/17/2024 - a year ago
    4 - ASSIGNED TO EXAMINER Type: DOCK
  • 10/2/2024 - a year ago
    6 - NON-FINAL ACTION E-MAILED Type: GNRT
  • 10/2/2024 - a year ago
    5 - NON-FINAL ACTION WRITTEN Type: CNRT
  • 1/2/2025 - 12 months ago
    9 - APPLICATION EXTENSION GRANTED/RECEIPT PROVIDED Type: XELG
  • 1/2/2025 - 12 months ago
    8 - APPLICATION EXTENSION TO RESPONSE PERIOD - RECEIVED Type: XELR
  • 3/31/2025 - 9 months ago
    11 - CORRESPONDENCE RECEIVED IN LAW OFFICE Type: CRFA
  • 3/31/2025 - 9 months ago
    10 - TEAS RESPONSE TO OFFICE ACTION RECEIVED Type: TROA
  • 4/1/2025 - 9 months ago
    12 - TEAS/EMAIL CORRESPONDENCE ENTERED Type: TEME
  • 5/12/2025 - 7 months ago
    13 - FINAL REFUSAL WRITTEN Type: CNFR
  • 5/12/2025 - 7 months ago
    14 - FINAL REFUSAL E-MAILED Type: GNFR
  • 5/12/2025 - 7 months ago
    15 - NOTIFICATION OF FINAL REFUSAL EMAILED Type: GNFN